Συγγραφέας:Επεξεργαστής τοποθεσίας Χρόνος δημοσίευσης: 2026-04-23 Προέλευση:Ιστοσελίδα
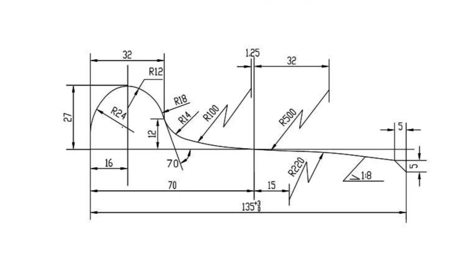
Ο σχεδιασμός της φλάντζας και του προφίλ πέλματος ενός τροχού σιδηροδρόμου διαδραματίζει κρίσιμο ρόλο στη διασφάλιση της ασφαλούς και αποτελεσματικής λειτουργίας του τρένου. Μια καλά ταιριαστή γεωμετρία επαφής τροχού-ράγας όχι μόνο μειώνει τη φθορά και την καταπόνηση, αλλά βελτιώνει επίσης τη συνολική σταθερότητα λειτουργίας και την απόδοση διαπραγμάτευσης καμπυλών.
Κατά το σχεδιασμό του προφίλ του πέλματος του τροχού, είναι απαραίτητο να διασφαλιστεί η σωστή συμβατότητα με το σχήμα της κεφαλής της ράγας. Μια ιδανική διεπαφή τροχού-ράγας μπορεί να μειώσει αποτελεσματικά την πίεση επαφής και να ελαχιστοποιήσει τη φθορά, γεγονός που συμβάλλει άμεσα:
· Βελτιωμένη απόδοση κατά τη διέλευση από καμπύλες
· Μειωμένη συχνότητα και κόστος συντήρησης
· Αυξημένη κρίσιμη ταχύτητα για τη σταθερότητα του τρένου
Επιπλέον, το πρόσφατα σχεδιασμένο προφίλ πέλματος θα πρέπει να ταιριάζει πολύ με το φθαρμένο προφίλ σε πραγματικές συνθήκες λειτουργίας. Αυτό συμβάλλει στη μείωση της ποσότητας της αφαίρεσης μετάλλου κατά την επαναπροφίλ, παρατείνοντας έτσι τη διάρκεια ζωής του τροχού και μειώνοντας το κόστος συντήρησης.

Η φλάντζα είναι ένα βασικό χαρακτηριστικό ασφαλείας που αποτρέπει τον εκτροχιασμό. Το ύψος και η γεωμετρία του πρέπει να ελέγχονται προσεκτικά:
· Ύψος φλάντζας: Συνήθως κυμαίνεται μεταξύ 26 mm και 30 mm
· Πολύ χαμηλό: Αυξάνει τον κίνδυνο εκτροχιασμού
· Πολύ υψηλό: Μπορεί να προκαλέσει παρεμβολές σε εξαρτήματα σιδηροτροχιάς, όπως μπουλόνια πλάκας ψαριού ή ώμους, ειδικά όταν η φθορά του πέλματος είναι σημαντική
Για την ασφαλή διέλευση μέσω των στροφών, οι μικρότερες διάμετροι τροχών απαιτούν γενικά υψηλότερα ύψη φλάντζας.
Η γωνία της φλάντζας είναι επίσης καθοριστική. Η εξωτερική επιφάνεια της φλάντζας πρέπει να διατηρεί την κατάλληλη γωνία με το οριζόντιο επίπεδο:
· Πολύ μικρή γωνία: Υψηλότερος κίνδυνος αναρρίχησης τροχού (εκτροχιασμός σε χαμηλές ταχύτητες)
· Πολύ μεγάλη γωνία: Αυξάνει την αφαίρεση της μηχανικής κατεργασίας κατά την επαναπροφίλ και μπορεί να προκαλέσει επαφή μεταξύ της κορυφής της φλάντζας και της ράγας υπό συνθήκες γωνίας προσβολής

Το προφίλ του πέλματος καθορίζεται κυρίως από τις συνθήκες της τροχιάς και την ταχύτητα λειτουργίας της αμαξοστοιχίας, παρά από τη δομική σχεδίαση του τροχού. Όταν δεν υπάρχουν σημαντικές αλλαγές στην υποδομή της τροχιάς ή στην ταχύτητα λειτουργίας, το προφίλ του πέλματος συνήθως παραμένει αμετάβλητο—ακόμη και αν τροποποιηθεί η δομή του τροχού.
Στις περισσότερες περιπτώσεις, υιοθετούνται τυποποιημένα προφίλ πέλματος για να διασφαλιστεί η συμβατότητα και η αξιοπιστία στα σιδηροδρομικά συστήματα.
Ο σχεδιασμός της φλάντζας και του προφίλ του πέλματος του τροχού σιδηροδρόμου είναι μια ζωτική πτυχή της ασφάλειας και της απόδοσης του τρένου. Με τη βελτιστοποίηση της αλληλεπίδρασης τροχού-σιδηροτροχιάς, τον έλεγχο των διαστάσεων της φλάντζας και την ευθυγράμμιση του σχεδιασμού του πέλματος με τις πραγματικές συνθήκες λειτουργίας, οι σιδηροδρομικοί φορείς μπορούν να βελτιώσουν σημαντικά τη λειτουργική απόδοση, να μειώσουν τη φθορά και να βελτιώσουν τη συνολική ασφάλεια.